(foto) Ferrari a brevetat un ”V12” care nu este un tot întreg
Ferrari pregătește o schimbare radicală pentru viitoarele sale supercaruri hibride. În baza de date a Organizației Mondiale a Proprietății Intelectuale (WIPO) a fost publicat un brevet care descrie o configurație inedită de motor ”V12” pentru un sistem hibrid în serie.
Spre deosebire de hibridele paralele actuale (precum este modelul F80), noul sistem propune eliminarea cutiei de viteze și utilizarea motorului termic exclusiv ca generator de electricitate pentru baterie și motoarele electrice.

Un ”V12” format din două unități cu șase cilindri
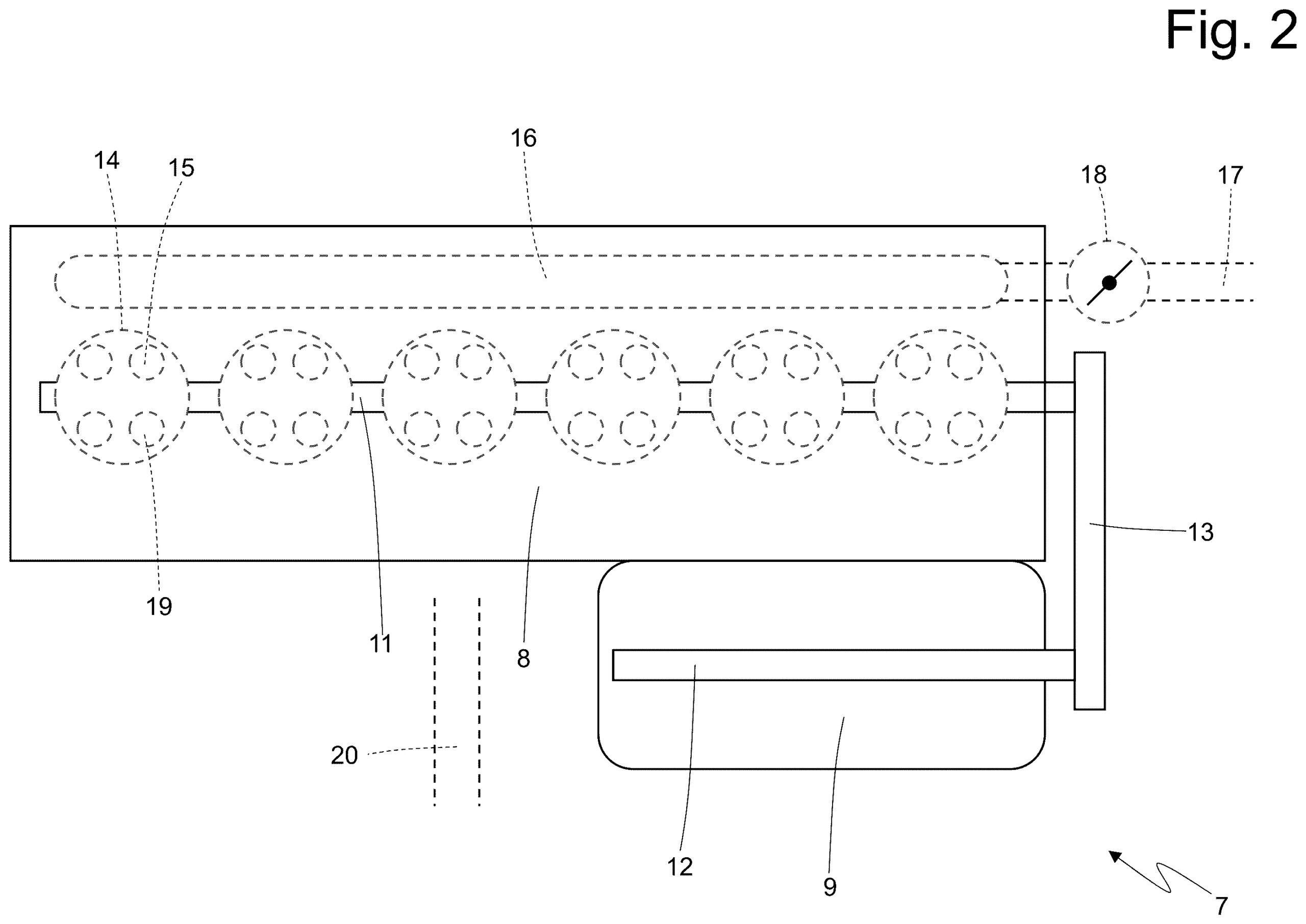
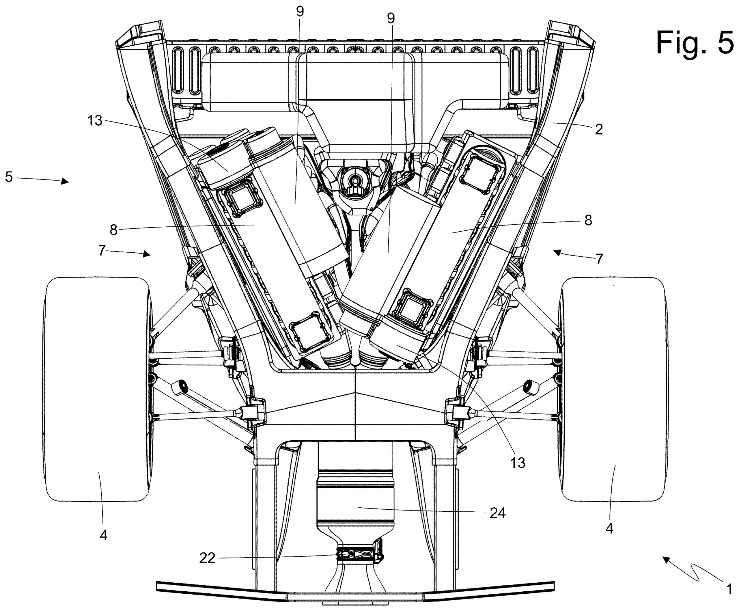
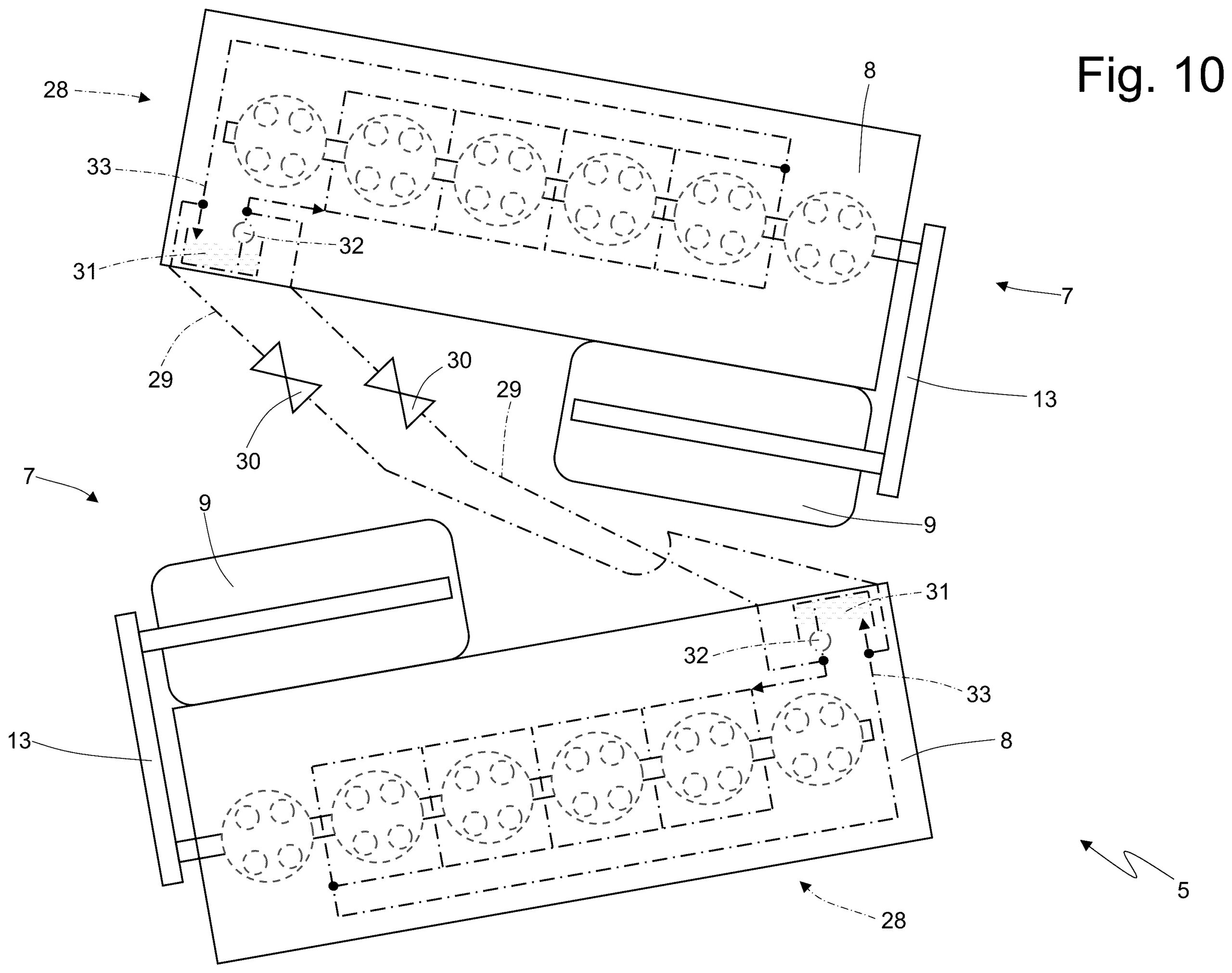
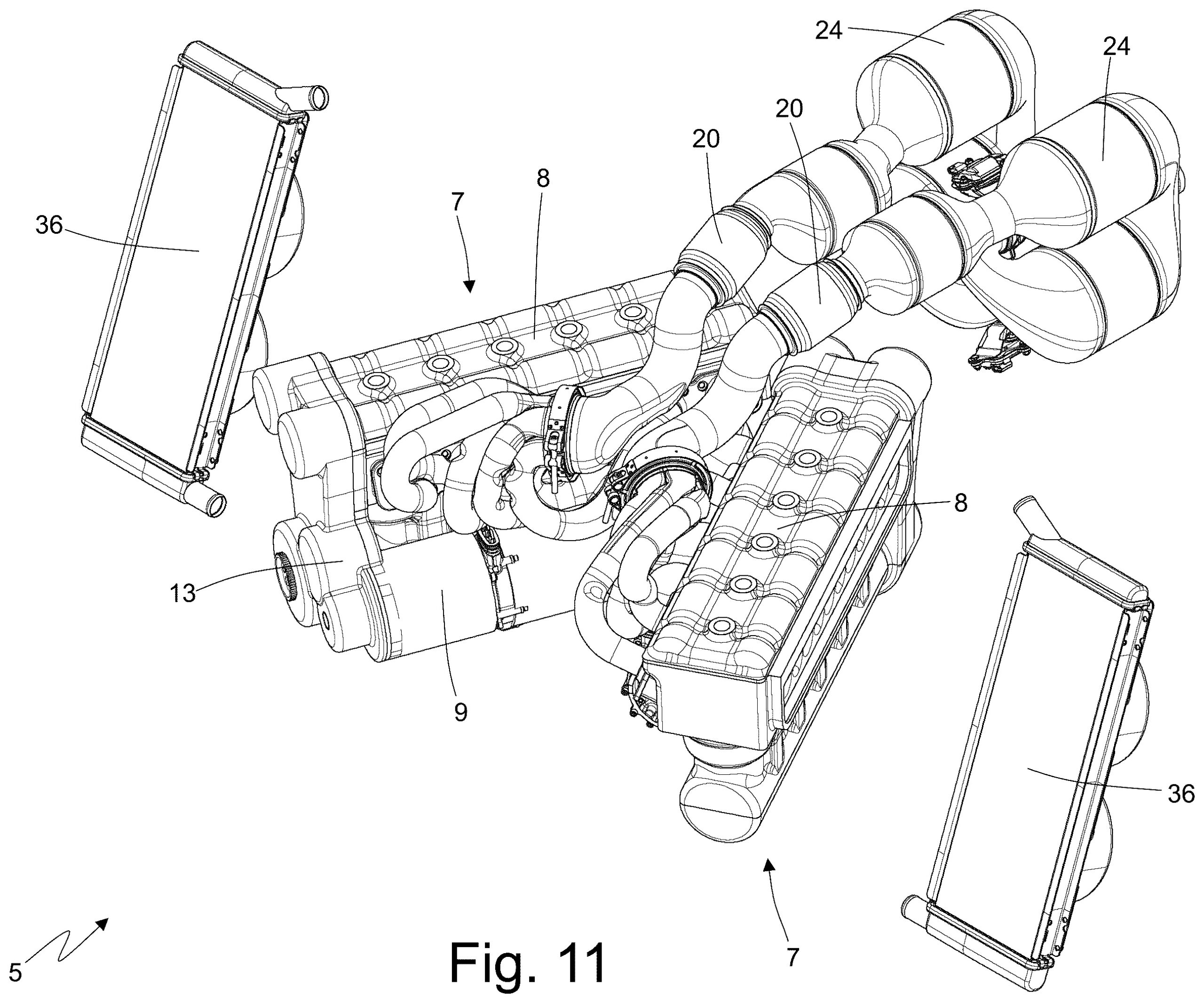
Inovația centrală o reprezintă arhitectura motorului: nu este un V12 clasic cu un singur arbore cotit, ci două motoare cu șase cilindri în linie dispuse în formă de V atunci când sunt privite de sus, nu din față.
Fiecare banc de cilindri are propriul arbore cotit și propriul generator asociat. Cele două jumătăți sunt unite de un sistem comun de lubrifiere, evacuare a gazelor de eșapament și o unitate de control electronic.
Această configurație rezolvă una dintre problemele majore ale sistemelor hibride în serie: lungimea mare a unui V12 tradițional. Prin dispunerea celor două „in-line six” în formă de V, motorul poate fi integrat în spațiul îngust dintre roțile spate, acolo unde la Ferrari-urile cu motor central se află de obicei cutia de viteze.

De ce un sistem hibrid în serie pentru un supercar?
O mașină hibridă este echipată cu un sistem de propulsie format din două sau mai multe componente, de obicei (cel puțin) un motor electric și un motor cu ardere internă, care funcționează în combinație unul cu celălalt. Cea mai răspândită arhitectură a unei mașini hibride este configurația hibridă paralelă, în care atât motorul electric, cât și motorul cu ardere internă pot furniza cuplu roților motrice.
Însă există și o arhitectură diferită, numită configurație hibridă în serie, în care motorul cu ardere internă nu este conectat la roțile motrice, ci este conectat doar la un generator electric și, prin urmare, are ca singură sarcină generarea de energie electrică pentru a alimenta motorul electric care rotește roțile motrice.
În mod normal este prevăzut un sistem de stocare a energiei electrice, în care sunt stocate atât energia electrică generată de motorul electric în timpul frânării regenerative, cât și energia electrică generată în exces (în raport cu consumul real al motorului electric) de generatorul electric conectat la motorul cu ardere internă; în acest fel, există o rezervă de energie electrică în sistemul de stocare, care poate fi utilizată de motorul cu ardere internă în timpul accelerațiilor puternice (prin urmare, ansamblul format din motorul cu ardere internă și generatorul electric poate fi subdimensionat în raport cu puterea maximă care poate fi absorbită de motorul electric, deoarece diferența este furnizată de sistemul de stocare).
O configurație hibridă în serie utilizează în mod normal un motor cu ardere internă (cum ar fi un motor cu turbină), care are o gamă de funcționare foarte îngustă și, prin urmare, atinge o eficiență mai mare decât motoarele cu ardere internă tradiționale; evident, motorul cu ardere internă funcționează întotdeauna la eficiență energetică maximă. În ansamblu, configurația hibridă în serie este eficientă din punct de vedere energetic, în special atunci când viteza vehiculului se modifică continuu (cum ar fi în cazul conducerii în oraș sau pe circuit), în timp ce este mai puțin eficientă din punct de vedere energetic decât un hibrid paralel sau un vehicul echipat cu un motor pur termic atunci când aceeași viteză este menținută pentru o perioadă îndelungată (cum ar fi în cazul conducerii pe autostradă).
Cu toate acestea, configurația hibridă în serie este potrivită numai pentru utilizarea în vehicule de lucru sau în mașini mici fără ambiții sportive, deoarece senzațiile pe care le transmite șoferului — în special cele acustice — sunt decisiv neplăcute și deloc captivante, adică exact opusul a ceea ce se așteaptă șoferul unei mașini sport.
Sistemele hibride în serie sunt deja răspândite în China la automobilele de volum, dar nu și în lumea supercarurilor. Motivele sunt clare: lipsa emoției sonore, monotonia funcționării și riscul ca mașina să devină „legumă” (performanță redusă) atunci când bateria este descărcată, deoarece motorul termic – de obicei unul mic – nu poate asigura suficientă putere.
Un pas către viitorul ecologic al Europei
Brevetul Ferrari ar veni să răspundă acestor provocări:
- Un ”V12” puternic asigură o dinamică bună chiar și cu bateria descărcată, compensând pierderile de conversie
- Sunetul nu va fi monoton datorită unui sistem electronic de comandă care poate regla independent turația celor două jumătăți de motor, simulând chiar schimbarea treptelor unei cutii de viteze inexistente (cu orice număr de trepte programabil)
- Performanța rămâne ridicată datorită puterii termice disponibile
Ferrari se gândește la viitor, în special la piața europeană, unde normele de emisii devin din ce în ce mai stricte. Un sistem hibrid în serie poate oferi caracteristici ecologice foarte bune, iar libertatea de compoziție este mult mai mare decât în cazul hibridelor paralele.
Brevetul descrie detaliat conceptul, iar Ferrari pare să fi găsit soluții ingenioase pentru arhitectura generală, inclusiv pentru sistemele de evacuare și răcire. Rămâne de văzut dacă producătorul italian va decide să treacă la producție, ceea ce ar însemna o schimbare radicală de paradigmă pentru supercarurile cu 12 cilindri.













Cmentariile sunt închise