(foto) Tesla Roadster revine în centrul atenției. Proaspătul brevet înregistrat de companie
Proiectul Tesla Roadster nu a murit! Mașina, prezentată sub formă de prototip în 2017 și promisă că apare pe piață din 2020, încă se dezvoltă. Elon Musk își dorește ca produsul să fie unul special pe piață, nu un alt banal EV de care are deja ”toată lumea”.
Designul final va fi diferit pe alocuri și se promite că noul Roadster va fi „Last Best Driver’s Car” (ultima cea mai bună mașină pentru șoferi). Iar cel mai nou brevet ne oferă un indiciu în acest sens.

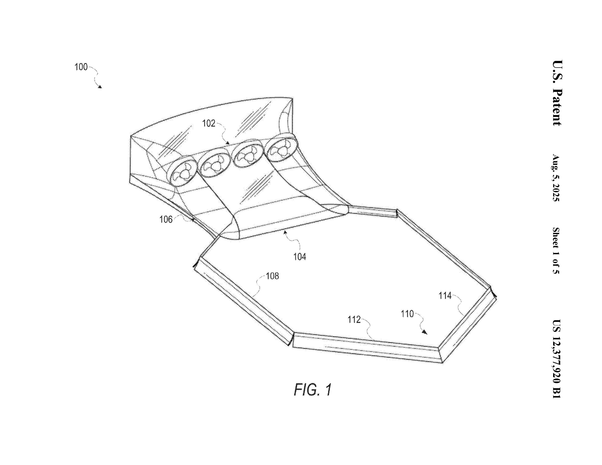
Tesla a înregistrat pe 5 august 2025 un brevet pentru o tehnologie aerodinamică revoluționară, destinată cel mai probabil supercarului electric Roadster. Sistemul inovator i-ar putea permite să atingă accelerațiile incredibile promise anterior și să se mențină stabil pe șosea prin crearea unui efect de „prindere” la sol (ground effect). Brevetul descrie o soluție care ar putea transforma performanțele acestui vehicul, inclusiv pentru a concura în lupta pentru diverse recorduri de timp.
O Tehnologie Nouă-Veche
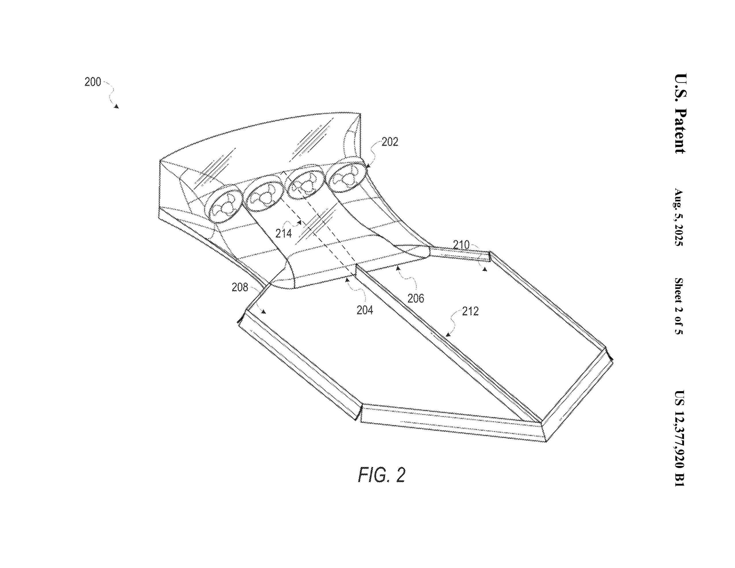
Noua tehnologie a Tesla se bazează pe un sistem activ de aerodinamică, cu moduri multiple, care utilizează ventilatoare și ”fuste” retractabile pentru a genera o forță de apăsare controlabilă. Potrivit brevetului, panourile montate de-a lungul marginilor inferioare ale caroseriei, care pot fi desfășurate selectiv, creează zone etanșe sau parțial etanșe sub vehicul, în timp ce ventilatoarele extrag aerul din aceste zone, generând o presiune scăzută care îmbunătățește aderența pneurilor. O abordare asemănătoare a fost testată cu succes de compania britanică McMurtry pe supercarul electric Speirling, care a demonstrat stabilitate excepțională, rămânând suspendat chiar și cu roțile în sus.
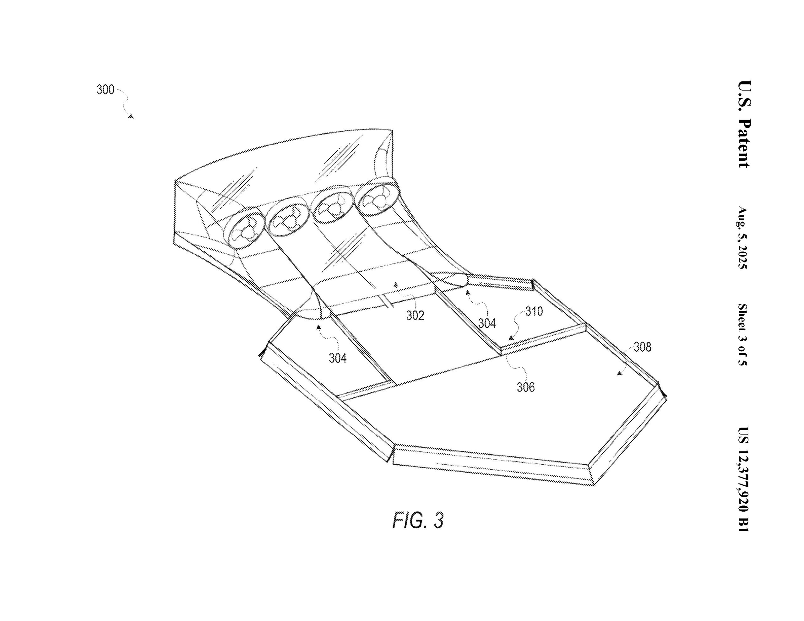
Tesla descrie în brevet modul în care ”fustele”, poziționate pe laterale, față și spate, interacționează cu suprafața drumului pentru a forma regiuni delimitate. Ventilatoarele, inclusiv unele centrale și altele laterale, sunt integrate în căile de aerisire, ajustându-și viteza și configurația în funcție de condițiile de conducere. Acest sistem poate opera în două moduri: un mod de forță maximă de apăsare la viteze mici, cu toate fustele desfășurate, și un mod optimizat pentru terenuri variate la viteze mari, cu fustele față și spate retrase.
Vezi și: Tesla Roadster sub o secundă, zice Elon Musk, dar Mate Rimac îl contrazice
Un Salt în Performanța Autovehiculelor
Tehnologia ar putea face posibilă atingerea unui timp de accelerație de la 0 la 97 km/h în mai puțin de o secundă, un obiectiv anunțat de Elon Musk în 2024, când a mărit ambițiile pentru noul Roadster. Inițial, în 2017, Musk promisese un timp de 1.9 secunde, dar competiția, inclusiv cu Model S Plaid (capabil de 1.99 secunde) l-ar fi determinat să vizeze performanțe comparabile cu dragsterele Top Fuel, deși adaptate pentru utilizare legală pe drumuri publice. Sistemul de aero-dinamică ar asigura o tracțiune perfectă la starturi și o stabilitate superioară în viraje, elemente esențiale pentru a stabili recorduri pe circuite celebre.
Controlul sistemului este gestionat de un alt sistem sofisticat care analizează datele senzorilor – viteza vehiculului, poziția roților, unghiul de înclinare, locația GPS și condițiile terenului – pentru a ajusta în timp real desfășurarea fustelor și funcționarea ventilatoarelor. Senzori de proximitate monitorizează distanța față de sol, permițând adaptarea la suprafețe denivelate, iar capacitățile predictive utilizează hărți și date GPS pentru a anticipa schimbările de traseu.
Brevetul detaliază o arhitectură complexă, cu ventilatoare variabile cu lame ajustabile și căi de aerisire cu secțiuni convergente-divergente pentru optimizarea fluxului de aer. ”Fustele” sunt echipate cu mecanisme de balamale și actuatori care permit desfășurarea parțială sau completă, oferind flexibilitate în funcție de condiții. Sistemul include și filtre la intrările căilor de aerisire pentru a preveni pătrunderea deșeurilor. Diagramele din brevet ilustrează configurații multiple, inclusiv regiuni delimitate separate sub vehicul, permițând o distribuție precisă a forței de apăsare între punți.
Viitorul Roadsterului
În aceste condiții, noul Tesla Roadster rămâne un proiect așteptat cu nerăbdare, iar această tehnologie ar putea fi cheia pentru a-l poziționa ca un lider în industria supercarurilor electrice. Dacă va fi implementată, Roadsterul ar putea nu doar să domine accelerațiile, ci și să redefinească manevrabilitatea, aducând o nouă eră a performanței sustenabile.
Apropo, la mijlocul lunii iulie, Elon Musk a promis o anumită demonstrație epică, cea mai epică, până la sfârșitul anului curent.





Cmentariile sunt închise